產品關鍵詞:
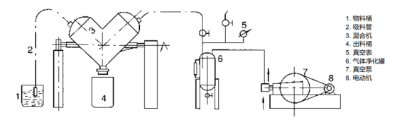
產品簡介:本機適用于制藥、化工、食品等行業兩種以上粉狀、顆粒狀物料的混和。該機混和筒結構獨特,混和效率高,無死角,采用不銹鋼材料制作,內外壁拋光處理,外形美觀,混和均勻,適用面寬,可根據用戶的要求配套強制攪拌器,以適合較細的粉粒、塊狀、含有一定量水份的物料混合之用。
聯系方式:13961436197

該機混和筒結構獨特,混和效率高,無死角,采用不銹鋼材料制作,內外壁拋光處理,外形美觀,混和均勻,適用面寬,可根據用戶的要求配套強制攪拌器,以適合較細的粉粒、塊狀、含有一定量水份的物料混合之用。

V形混合機是國際上較為通用的粉末、顆粒狀物料混合機,它具有結構簡單,容易操作,維修清洗方便,混合速度快效果混勻等特點。

廣泛用于磁性材料,粉末治金,制藥,化工,食品、電子、陶瓷等行業。



VHJ形混合機利用混料機二圓柱筒長度不相等,形成不對稱,當混料機轉動時物料從分解到結合再分解,由于物料平面不同,也有橫向力,又有推動物料橫向交流,每轉動一圈橫向力越25%的物料從一個筒體流向另一個桶體,這樣物料橫向徑向混合,分解結合分解結合反復的相互進行,使得物料達到混合作用。

